Подскажите плохому сварщику

Гаражи, беседки дровники, парники и прочее...
Аватара пользователя
Па 100
Модератор
Сообщения: 2166
Зарегистрирован: 30 июн 2016, 09:14
Откуда:: Москва
Благодарил (а): 3110 раз
Поблагодарили: 2927 раз

Подскажите плохому сварщику

#21

Сообщение Па 100 » 09 фев 2018, 12:12

veles писал(а):
09 фев 2018, 11:55
Привариваемпо уму гайки в нужнвх местах высокие.
Независимо от твоего варианта, мне пришёл на ум подобный. Я его уже на ФХ выложил.
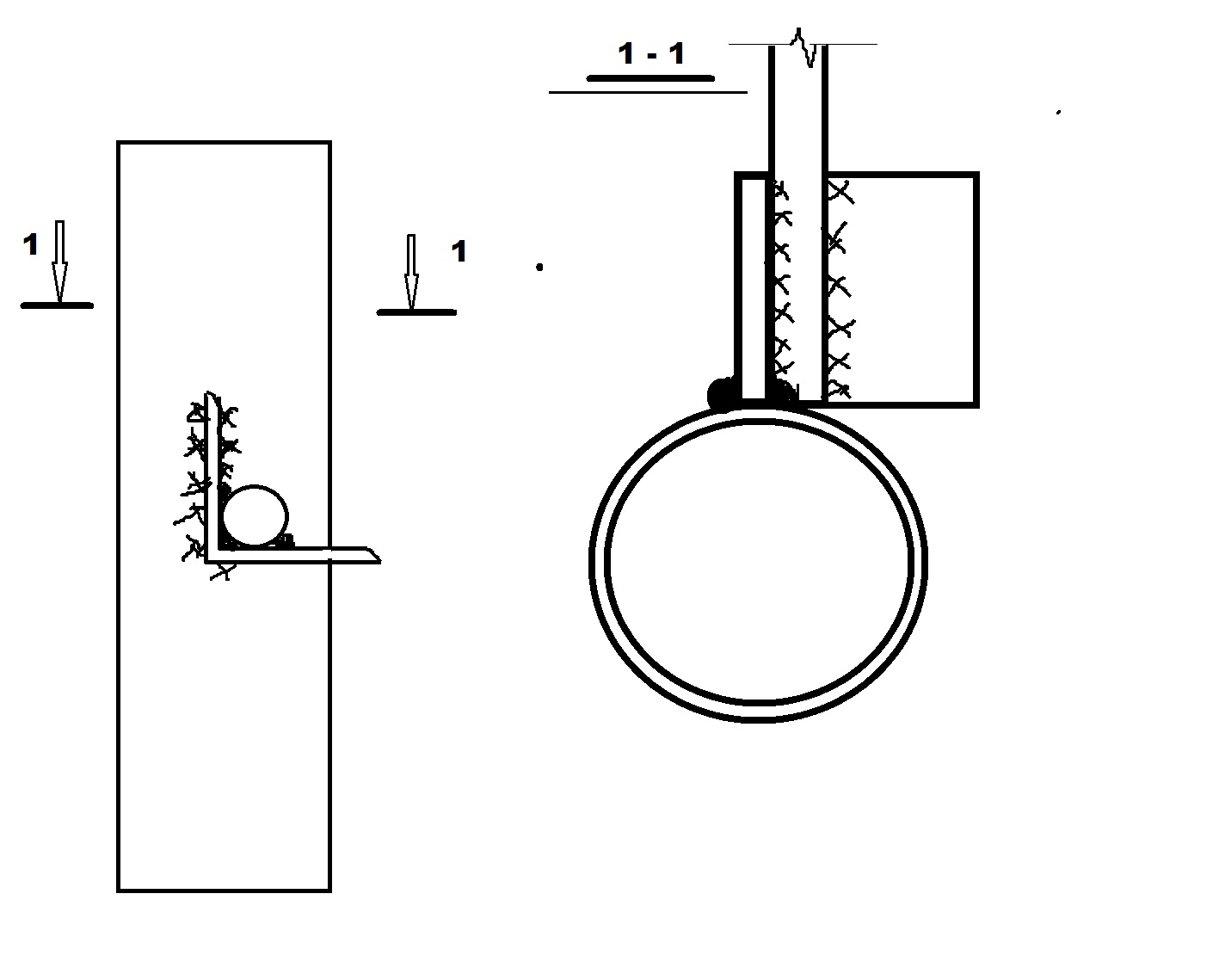
А если к трубе-нижней обвязке приварить уголок 50х50 длиной 100 мм, а затем к нему арматурное ребро?
Вот так. Мне кажется так арматурины будет легче варить.
Уппс! Прошу прощения, не с той стороны ребро уголка нарисовал. Но главное принцип сохранился.
Узел ребро к обвязвке.jpg
Мироздание исполняет сбычу мечт, но у него наши руки!

Аватара пользователя
glebomater
Администратор
Сообщения: 11680
Зарегистрирован: 15 май 2014, 22:22
Благодарил (а): 9252 раза
Поблагодарили: 8687 раз

Подскажите плохому сварщику

#22

Сообщение glebomater » 09 фев 2018, 12:15

Чтобы удержать арматурину во время сварки. смастери высокий треножник, и к нем крепи арматурину хоть струбциной, хоть веревкой привязывай. :smile1:
Прежде чем ломать стереотипы, проверь, вдруг они несущие.

veles
Стажер
Сообщения: 196
Зарегистрирован: 29 янв 2018, 16:11
Откуда:: Рыбинск
Благодарил (а): 55 раз
Поблагодарили: 125 раз

Подскажите плохому сварщику

#23

Сообщение veles » 09 фев 2018, 13:01

Па 100 писал(а):
09 фев 2018, 12:12
veles писал(а):
09 фев 2018, 11:55
Привариваемпо уму гайки в нужнвх местах высокие.
Независимо от твоего варианта, мне пришёл на ум подобный. Я его уже на ФХ выложил.
А если к трубе-нижней обвязке приварить уголок 50х50 длиной 100 мм, а затем к нему арматурное ребро?
Вот так. Мне кажется так арматурины будет легче варить.
Уппс! Прошу прощения, не с той стороны ребро уголка нарисовал. Но главное принцип сохранился.
Узел ребро к обвязвке.jpg
Разница особо не велика. Вполне жизнеспособный вариант и ремонтопригодность неплохая
Диагноз: легкая степень рукожопства...

Аватара пользователя
Dimention
Творец
Сообщения: 1242
Зарегистрирован: 05 июл 2016, 14:15
Откуда:: Владивосток
Благодарил (а): 784 раза
Поблагодарили: 1863 раза
Контактная информация:

Подскажите плохому сварщику

#24

Сообщение Dimention » 09 фев 2018, 14:07

По весне я тоже буду делать нечто подобное на свои грядки из арматуры. Арматура будет максимум 8 мм. Но и у меня по сути не тепличка, а парник, который будет устанавливаться сверху на свежесобранные грядки, а сверху укутаются полиэтиленом.
Кстати у меня чето не было вопроса как варить, брать да варить...
Не может быть чтоб лапти воду пропускали! Потому что нулевой баланс на счету стимулирует работу инженера.

Аватара пользователя
Serj
Администратор
Сообщения: 3828
Зарегистрирован: 10 июн 2014, 19:25
Откуда:: Пенза
Благодарил (а): 3484 раза
Поблагодарили: 3420 раз

Подскажите плохому сварщику

#25

Сообщение Serj » 09 фев 2018, 14:21

Па 100 писал(а):
09 фев 2018, 11:11
Коллеги, может подскажете приспособление, которое позволило бы вывести арматурное ребро в вертикальное положение и удержать его в этом положении при сварке?
Да какое приспособление? Прихватываешь, потом подгибаешь как нужно и обвариваешь окончательно.
Повторюсь - потрать пару часов на тренировку и сам поймёшь что все просто!
Па 100 писал(а):
09 фев 2018, 11:07
По рёбрам из арматуры горизонтально приварю обрешётку с шагом 1000 мм или из полосы 40х4 мм или из квадратной трубы 40х20х1.5 мм (как Сергей советует). А уже на обрешётку стелю поликарбонат и креплю его к обрешётке кровельными саморезами.
Не уверен, что так получится. Крепить нужно вдоль края, а не только поперёк, т.е. именно к дугам. И там вроде какой-то профиль используется и специальные термошайбы.
Чудес не бывает!

Аватара пользователя
Serj
Администратор
Сообщения: 3828
Зарегистрирован: 10 июн 2014, 19:25
Откуда:: Пенза
Благодарил (а): 3484 раза
Поблагодарили: 3420 раз

Подскажите плохому сварщику

#26

Сообщение Serj » 09 фев 2018, 14:22

Dimention писал(а):
09 фев 2018, 14:07
, брать да варить...
:new_russian: :king:
Чудес не бывает!

Аватара пользователя
onozdrachoff
Творец
Сообщения: 6204
Зарегистрирован: 01 янв 2016, 17:18
Откуда:: Вологда
Благодарил (а): 6486 раз
Поблагодарили: 5803 раза

Подскажите плохому сварщику

#27

Сообщение onozdrachoff » 09 фев 2018, 21:00

Па 100 писал(а):
09 фев 2018, 12:12
veles писал(а):
09 фев 2018, 11:55
Привариваемпо уму гайки в нужнвх местах высокие.
Независимо от твоего варианта, мне пришёл на ум подобный. Я его уже на ФХ выложил.
А если к трубе-нижней обвязке приварить уголок 50х50 длиной 100 мм, а затем к нему арматурное ребро?
Вот так. Мне кажется так арматурины будет легче варить.
Уппс! Прошу прощения, не с той стороны ребро уголка нарисовал. Но главное принцип сохранился.
Узел ребро к обвязвке.jpg
Долго в моей голове бродила мысль и вот добрела: А на кой хрен тебе, уважаемый Николай Константиныч дуги металлическими делать? Чем, скажи мне, тебе не подходят дуги из ПНД трубы? Варишь нижнюю обвязку, привариваешь к ней стержни длиной 100-150 мм и одеваешь на них трубку-хочешь черненькую, хочешь беленькую, хочешь нагревая, хочешь на холодную? А к ней без геммора прикручиваешь поликарбонат на саморезы... В общем как не крути- с тебя литра, Константиныч....
БОГИ ГЛАГОЛЯТ ТВОРЯША

Аватара пользователя
Па 100
Модератор
Сообщения: 2166
Зарегистрирован: 30 июн 2016, 09:14
Откуда:: Москва
Благодарил (а): 3110 раз
Поблагодарили: 2927 раз

Подскажите плохому сварщику

#28

Сообщение Па 100 » 09 фев 2018, 22:24

С разрешения Генадича onozdrachoff, перенёс его сообщение из лички.
"Константиныч, ты уж меня прости, но это не инвертор. Это простой трансформатор и скорее всего без системы выпрямления.Это не ты варить не умеешь-это прибор, предназначенный для.... продажи.Возьми Ресанту 160 за 5 руб и муки прекратятся.Пы.сы: и масочку-хамелеон рубля за полтора. Я тебе сюжет поставлю, а дальше думай-я бы таким варить не стал- им только срать и брызгать. https://www.youtube.com/watch?v=MWv-m3G8utA"
Мироздание исполняет сбычу мечт, но у него наши руки!

Аватара пользователя
Па 100
Модератор
Сообщения: 2166
Зарегистрирован: 30 июн 2016, 09:14
Откуда:: Москва
Благодарил (а): 3110 раз
Поблагодарили: 2927 раз

Подскажите плохому сварщику

#29

Сообщение Па 100 » 09 фев 2018, 22:31

onozdrachoff писал(а):
09 фев 2018, 21:00
Долго в моей голове бродила мысль и вот добрела: А на кой хрен тебе, уважаемый Николай Константиныч дуги металлическими делать? Чем, скажи мне, тебе не подходят дуги из ПНД трубы? Варишь нижнюю обвязку, привариваешь к ней стержни длиной 100-150 мм и одеваешь на них трубку-хочешь черненькую, хочешь беленькую, хочешь нагревая, хочешь на холодную? А к ней без геммора прикручиваешь поликарбонат на саморезы... В общем как не крути- с тебя литра, Константиныч....
Замётано, Генадич (что пить будем? :wink: )! Здравая мысль. :ok:
Только надо в конструкцию включить три П-образные продольные рамы (одну посередине пролёта и две на расстоянии четверти пролёта от краёв ангара) дабы избежать прогибы ПНД-рёбер.
Мироздание исполняет сбычу мечт, но у него наши руки!

Аватара пользователя
Па 100
Модератор
Сообщения: 2166
Зарегистрирован: 30 июн 2016, 09:14
Откуда:: Москва
Благодарил (а): 3110 раз
Поблагодарили: 2927 раз

Подскажите плохому сварщику

#30

Сообщение Па 100 » 09 фев 2018, 22:45

Па 100 писал(а):
09 фев 2018, 22:31
Только надо в конструкцию включить три П-образные продольные рамы (одну посередине пролёта и две на расстоянии четверти пролёта от краёв ангара) дабы избежать прогибы ПНД-рёбер.
Вот как-то так.
Дуги из ПНД труб.jpg
Константиныч, среднюю стойку убери, а то тебе в теплицу не войти будет, да и не нужна она вовсе.
Мироздание исполняет сбычу мечт, но у него наши руки!

Ответить

Вернуться в «Постройки вокруг дома»